Home
Product Center
Feedback
Certificates
Contact Us
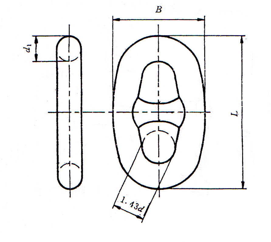
Enlarge Link
Home
Product Center
Feedback
Certificates
Contact Us