Home
Product Center
Feedback
Certificates
Contact Us
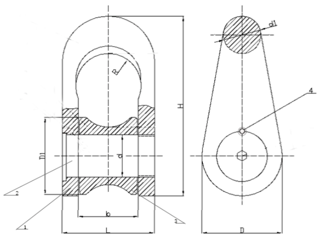
Fairlead Shackle
�
�
�
�
Home
Product Center
Feedback
Certificates
Contact Us