Home
Product Center
Feedback
Certificates
Contact Us
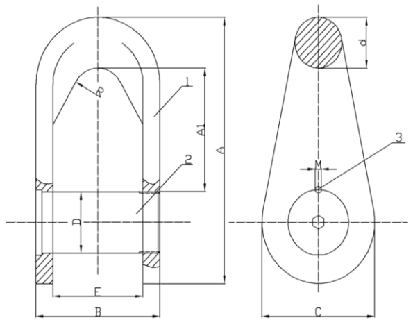
Mooring Shackle
�
�
�
�
�
�
Home
Product Center
Feedback
Certificates
Contact Us